

안녕하세요 WITTGUY 입니다.
2025년 10월 17일 화염방지 통기밸브 교체 의무화에 따라 저장탱크 노즐 끝단에 설치하는 엔드라인 화염방지기에 대한 문의가 급증하고 있습니다. 특히 가연성 저압 저장탱크(인화점 65℃ 이하)의 안전 확보를 위해서는 적절한 엔드라인 화염방지기 선정이 필수적입니다. 본 글에서는 KSFE 및 KSFF 모델의 기술적 특성과 선정 기준을 체계적으로 분석하여 현장 엔지니어들의 올바른 의사결정을 지원하고자 합니다.
목차
- KSFE/KSFF 엔드라인 화염방지기 기술 개요
- 모델별 구조 차이점 및 적용 기준
- 크기별 상세 치수 및 성능 데이터
- 재질 옵션 및 환경별 선정 가이드
- 설치 조건 및 기술적 검토사항
1. KSFE/KSFF 엔드라인 화염방지기 기술 개요
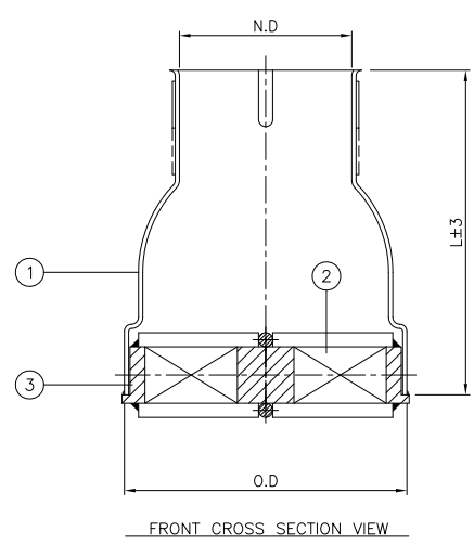
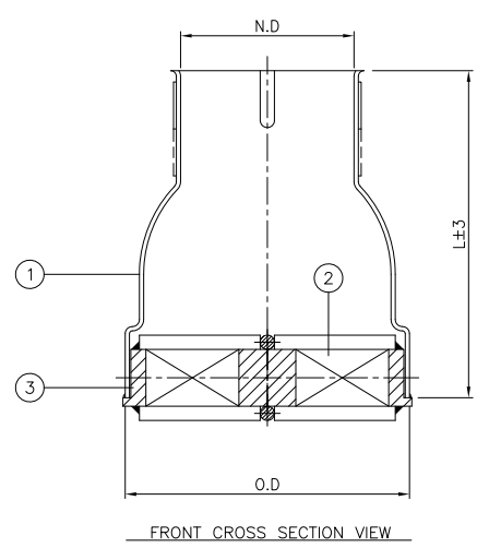
KSFE 및 KSFF 엔드라인 화염방지기는 API 2000, BS 7244(British Standard), EN 12874 표준에 따라 설계된 폭발방지용 말단 화염차단 장치입니다.
핵심 기술 특성
- 스파이럴 와운드 크림프 리본 316LSS 화염 셀 사용
- 열 흡수 및 분산을 통한 화염 전파 차단
- 수직 벤트 적용을 위한 자유 벤팅과 화염 보호 결합
- 외부 점화 화염의 탱크 내 유입 차단
2. 모델별 구조 차이점 및 적용 기준
| 구분 | KSFE | KSFF |
| 구조 형태 | 플랜지형 수직 설치 | 밴드형 수직하향 설치 |
| 크기 범위 | 0.5~12인치 (15~300mm) | 1~2인치 (25~50mm) |
| 연결 방식 | 플랜지 연결 | 밴드형 연결 |
| 적용 탱크 | 대형 저장탱크 | 소형/중형 저장탱크 |
| 본체 재질 | 주철(표준), 스테인리스강(옵션) | 스테인리스강(표준) |
적용 기준 선정표
| 탱크 용량 | 노즐 크기 | 권장 모델 | 연결 방식 |
| 1,000㎘ 이상 | 6인치 이상 | KSFE | 플랜지 |
| 100~1,000㎘ | 3~6인치 | KSFE | 플랜지 |
| 10~100㎘ | 2~4인치 | KSFE 또는 KSFF | 플랜지/밴드 |
| 10㎘ 미만 | 1.5~2인치 | KSFF | 밴드 |
3. 크기별 상세 치수 및 성능 데이터
KSFE 모델 치수표

KSFF 모델 치수표


4. 재질 옵션 및 환경별 선정 가이드
재질 구성 비교표
| 구성품 | 표준 설계 | 특수 설계 |
| 본체 | 주철(KSFE), 스테인리스강(KSFF) | 스테인리스강, 알루미늄 |
| 엘리먼트 링 | 탄소강 또는 스테인리스강 | 스테인리스강 |
| 엘리먼트 | 알루미늄 또는 스테인리스강 | 스테인리스강 |
| 표준 코팅 | 내외부 에폭시 250 마이크론 | S.S 및 AL 부품 제외 |
환경별 재질 선정 기준
| 환경 조건 | 권장 재질 | 적용 모델 | 특징 |
| 일반 대기 환경 | 주철(에폭시 코팅) | KSFE 표준 | 경제적, 일반적 사용 |
| 해안 지역 | 스테인리스강 304/316 | KSFE/KSFF 특수 | 내염분성 |
| 화학 공장 | 스테인리스강 316L | KSFE/KSFF 특수 | 내화학성 |
| 고온 환경 | 스테인리스강 316L | KSFE/KSFF 특수 | 내열성 |
| 이동식 장비 | 알루미늄 | KSFE 특수 | 경량화 |
5. 설치 조건 및 기술적 검토사항
설치 방향 및 위치
- 수직 설치 전용(End of Line)
- 탱크 노즐 끝단 직접 연결
- 점화원으로부터 안전거리 확보
- 접근 가능한 유지보수 공간 확보
기술적 검토 포인트
유량 계산 체크리스트
- 최대 벤팅 유량 vs 화염방지기 용량
- 압력 손실이 탱크 설계압력에 미치는 영향
- 온도 변화에 따른 유량 변동 검토
- 비상시 최대 배출량 고려
연결부 검토사항
- KSFE: 플랜지 볼트 토크 관리
- KSFF: 밴드 실링 및 고정력 확인
- 열팽창 보상 설계
- 진동 및 풍하중 검토
법규 준수 체크포인트
- 대기환경보전법 시행규칙 제46조의3 준수
- 2025년 10월 17일 교체 의무 이행
- 설치 후 성능 시험 및 검증
- 정기 점검 계획 수립
출처: 대기환경보전법 시행규칙 제46조의3(화재방지시설의 설치 등)
성능 시험 및 검증
- API 2000 기준 화염 차단 시험
- EN 12874 기준 내구성 시험
- 압력 손실 측정 및 검증
- 온도 특성 시험
출처 TOPSAFE CO., LTD. (2023). KSFE, KSFF Type End of Line Flame Arrester Technical Specification. 경상남도: 탑세이프.
한국가스안전공사. (2024). 저장탱크 안전장치 설치 기준. 울산: 한국가스안전공사.
환경부. (2024). 대기환경보전법 시행규칙 개정안 해설. 세종: 환경부.
영국표준협회. (2023). BS 7244: Stationary source emissions - Determination of the mass concentration of nitrogen oxides. 런던: BSI.
FAQ
Q1: KSFE와 KSFF 모델의 주요 차이점은 무엇인가요?
A1: KSFE는 플랜지 연결 방식으로 2~12인치 크기를 제공하며 대형 탱크에 적합합니다. KSFF는 나사 연결 방식으로 1~2인치 크기를 제공하며 소형 탱크에 적합합니다. KSFF는 표준적으로 스테인리스강 본체를 사용합니다. 또한 KSFE는 KFI 인증을 보유하고 있으나 KSFF는 KFI 인증이 없다는 차이점이 있습니다.
Q2: 엔드라인 화염방지기는 수평 설치가 가능한가요?
A2: 아닙니다. KSFE 및 KSFF 모델은 수직 설치 전용으로 설계되었습니다. 수평 설치가 필요한 경우에는 인라인 화염방지기(KSFI)를 사용해야 합니다.
Q3: 화염방지기 KFI 인증이 의무사항인가요?
A3: 화염방지기는 소방설비가 아니라 산업안전 설비이므로, KFI 인증이 의무사항은 아닙니다. 다만, 소방점검 시 KFI 인증 제품 설치가 필요하다고 한다면 KSFE 제품을 설치하고, 그렇지 않다고 한다면 KSFF를 설치해도 됩니다. 단, KSFF는 50A 크기까지만 생산되므로 그 이상 규격은 KSFE를 설치해야 합니다.
※ 본 블로그의 모든 내용은 신뢰할 수 있는 출처에 기반하고 있으나, 실제 적용 시에는 반드시 전문가와 상의하시기 바랍니다.
더 많은 정보는 www.wittguy.kr
WITTGUY 의 지식 저장소
Home Page
www.wittguy.kr
'04_화염방지기' 카테고리의 다른 글
| PTB 인증 ATEX 방폭 화염방지기(Flame Arrestor) (5) | 2025.08.17 |
|---|---|
| 화염방지기 일체형 브리더밸브 완벽 가이드 (10) | 2025.07.31 |
| 인라인 화염방지기 KSFI 모델 선정 가이드 (0) | 2025.07.29 |
| 탱크 안전장치 설치 의무 규정 총정리 (2) | 2025.07.15 |
| 화염방지기와 역화방지기 차이점 완벽 분석: 산업현장 안전장비 선택 가이드 (0) | 2025.07.08 |